

400-123-4567
13988999988


公司地址:广东省广州市天河区88号
联系方式:400-123-4567
公司传真:+86-123-4567
手机:13988999988
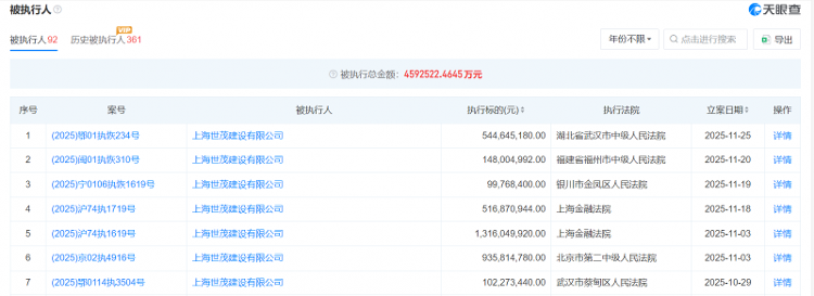
海报新闻记者赵恩上海报道。近日,上海世茂建设有限公司又新增一条继续实施的信息,实施目标为5.4亿元。执行法院为湖北省武汉市中级人民法院,立案日期为11月25日。 来源:天眼查官网 天眼查官网显示,除上海世茂建设有限公司外,本案被执行人还包括台州世茂酒店有限公司、合肥悦盈置业有限公司、上海卓卓企业管理有限公司。 2001年成立,法定代表人为严华。公司经营范围包括房地产开发、经营、旧房改造及经营(含租赁、销售)、物业管理、室内装饰、企业管理咨询。据资讯天眼查显示,该公司目前掌握被执行人信息90余条,被执行金额合计达459.25亿元。此外,该公司还有多处限制消费指令和失信被执行人信息。上海世茂建设有限公司是世茂集团控股有限公司(以下简称“世茂集团”)的子公司。 10月10日,世茂集团发布第三季度财报。截至2025年9月30日,集团合并总销售额约为192.17亿元,集团合并总销售面积为1,582,061平方米。截至2025年9月30日的九个月平均销售价格为每平方米12,147元。截至2025年9月,集团合约销售额约为19.01亿元,合约销售面积为155,245平方米。在第一个哈2025年上半年,世茂集团实现营业收入148.27亿元,同比下降49.2%;归属于公司股东的亏损约89.34亿元,较去年同期亏损226.68亿元收窄。